होंडा ने मोटरसाइकिलों के लिए स्टीयरिंग असिस्ट तकनीक का पेटेंट कराया

हाइलाइट्स
- कैमरा-आधारित सिस्टम ब्लाइंड स्पॉट से आ रहे वाहनों का पता लगाता है
- स्टीयरिंग असिस्टेंस राइडर के इनपुट जैसे एक्सीलरेशन और ब्रेकिंग के अनुसार एडजेस्ट होता है
- यह कॉन्सेप्ट चेतावनियों से कहीं आगे बढ़कर स्टीयरिंग कंट्रोल में धीरे-धीरे सहायता देता है
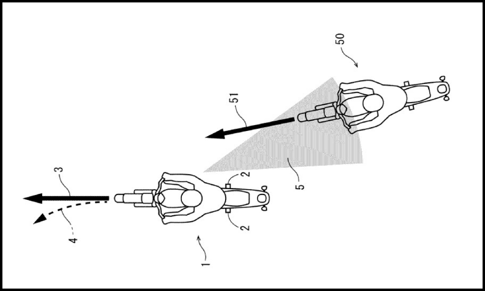
होंडा ने मोटरसाइकिल के लिए एक टर्न कंट्रोल डिवाइस का पेटेंट कराया है, जिसका उद्देश्य ब्लाइंड स्पॉट से किसी अन्य वाहन के आने पर स्टीयरिंग इनपुट में सक्रिय रूप से सहायता करके राइडर की सुरक्षा को बेहतर बनाना है. यह सिस्टम खासतौर से मोटरसाइकिलों की गतिशीलता को ध्यान में रखकर बनाया गया है, जहां स्टीयरिंग में छोटे-छोटे बदलाव भी स्थिरता को काफी हद तक प्रभावित कर सकते हैं. मौजूदा राइडर-असिस्ट सिस्टम केवल राइडर को चेतावनी देते हैं, लेकिन होंडा का यह कॉन्सेप्ट एक कदम आगे बढ़कर संभावित टक्कर से बचने में मदद करने के लिए स्टीयरिंग में धीरे से हस्तक्षेप करता है.

यह सिस्टम मुख्य रूप से एक कैमरे का उपयोग करता है जो मोटरसाइकिल के आसपास के क्षेत्र की लगातार निगरानी करता है। इस दृश्य डेटा का उपयोग करके, ब्लाइंड स्पॉट रिकग्निशन यूनिट उन वाहनों की पहचान करती है जो राइडर को आसानी से दिखाई न देने वाले क्षेत्रों से आ रहे होते हैं, जैसे कि लेन बदलते समय आस-पास की लेन. ब्लाइंड स्पॉट में वाहन का पता चलने पर, सिस्टम हस्तक्षेप करने का निर्णय लेने से पहले राइडर की वर्तमान गतिविधियों का मूल्यांकन करता है.
यह भी पढ़ें: होंडा CB300R भारत में हुई बंद
स्टीयरिंग में होने वाला यह हस्तक्षेप (दखल) एक स्टियरिंग कंट्रोल यूनिट द्वारा नियंत्रित किया जाता है. यह यूनिट मोटरसाइकिल की चलने की स्थिति के अनुसार अपना रिएक्शन बदलती है.
होंडा के पेटेंट में खास तौर पर बताया गया है कि सिस्टम का व्यवहार राइडर की तीन एक्टिविटी पर निर्भर करता है.
1 लेन बदलना
2 गति बढ़ाना (एक्सेलेरेशन)
3 गति कम करना (डीसेलेरेशन)
यानि, राइडर क्या कर रहा है, उसके हिसाब से यह सिस्टम स्टीयरिंग में हल्की-सी मदद करता है.
राइडर के एक्सीलरेट करने, ब्रेक लगाने या स्टीयरिंग करने की स्थिति के आधार पर, सिस्टम सहायता के स्तर को एडजेस्ट करता है. उदाहरण के लिए, यदि राइडर किसी ऐसी लेन में स्टीयरिंग करना शुरू करता है जहां कोई दूसरा वाहन आ रहा हो, तो हल्का सुधारात्मक इनपुट दिया जा सकता है, जबकि यदि राइडर पहले से ही ब्रेक लगा रहा हो या बाइक को स्थिर कर रहा हो, तो कम हस्तक्षेप किया जाता है.

दूसरी तस्वीर सिस्टम आर्किटेक्चर और कई सेंसरों द्वारा स्टीयरिंग कंट्रोल लॉजिक में जानकारी भेजने के तरीके को दर्शाती है. सरल शब्दों में, यह दिखाता है कि होंडा राइडर के इनपुट और पर्यावरणीय डेटा को जोड़ करके स्टीयरिंग सहायता का स्तर कैसे निर्धारित करती है.
इस सिस्टम में ये मुख्य हिस्से होते हैं:
कैमरा (इमेजिंग डिवाइस): जो आसपास के माहौल और वाहनों को देखता/कैप्चर करता है.
स्टेरिंग टॉर्क सेंसर: जो यह मापता है कि राइडर हैंडलबार पर कितनी ताकत (जोर) लगा रहा है.
थ्रॉटल ओपनिंग सेंसर: जो यह पता लगाता है कि राइडर कितना एक्सेलेरेशन दे रहा है.
ब्रेक प्रेशर सेंसर: जो ब्रेक लगाने की ताकत को मॉनिटर करता है
मतलब, ये सभी सेंसर मिलकर यह समझते हैं कि राइडर क्या कर रहा है और आसपास क्या हो रहा है, ताकि जरूरत पड़ने पर स्टेरिंग में सुरक्षित तरीके से मदद की जा सके.
इन सभी डेटा को एक इवेंट डिटेक्शन यूनिट द्वारा प्रोसेस किया जाता है, जो यह निर्धारित करती है कि राइडर क्या करने की कोशिश कर रहा है, जैसे कि लेन बदलना, गति बढ़ाना या गति कम करना आदि. साथ ही, एक ब्लाइंड स्पॉट एंगल रिकग्निशन यूनिट कैमरे के डेटा का विश्लेषण करके असुरक्षित कोणों से आ रहे वाहनों की पहचान करती है.

इन इनपुट का आकलन हो जाने के बाद, जानकारी स्टीयरिंग कंट्रोल यूनिट को भेजी जाती है, जो यह तय करती है कि स्टीयरिंग सहायता की आवश्यकता है या नहीं. यदि आवश्यक हो, तो एक रोटेशन एक्चुएटर स्टीयरिंग की दिशा को हल्के तौर पर एडजेस्ट करता है ताकि मोटरसाइकिल सामने से आ रहे वाहन से बच सके, और साथ ही सवार का नियंत्रण भी बना रहे.
अगर हम सही रूप से देखें तो होंडा अकेली ऐसी निर्माता कंपनी नहीं है जो इस क्षेत्र में काम कर रही है. बीएमडब्ल्यू, डुकाटी और अन्य ब्रांड पहले से ही रडार-आधारित सुरक्षा प्रणालियों के साथ इसी दिशा में आगे बढ़ रहे हैं. यह देखना बाकी है कि क्या ऐसी तकनीक अपने मौजूदा स्वरूप में निर्माण तक पहुंच पाएगी या नहीं.
पुरानी कारों पर शानदार डील
सभी यूज़्ड कार देखें
8.22022 ह्युंडई क्रेटा1.5 SX Executive Trim | 44,525 km | पेट्रोल | मैन्युअलRs. 12.25 लाख₹ 25,905/माहMax Motors Yozna Vihar, New Delhi
7.92019 ह्युंडई क्रेटा1.6 E Plus | 39,970 km | पेट्रोल | मैन्युअलRs. 9.25 लाख₹ 20,717/माहMax Motors Yozna Vihar, New Delhi
8.82024 किया सॉनेटHTX | 16,940 km | डीज़ल | आटोमेटिकRs. 11.9 लाख₹ 26,652/माहMax Motors Yozna Vihar, New Delhi
92024 मारुति सुजुकी ब्रेज़ाVXI | 6,199 km | पेट्रोल | मैन्युअलRs. 10.25 लाख₹ 22,956/माहMax Motors Yozna Vihar, New Delhi
8.62022 मारुति सुजुकी स्विफ्टVXI BS IV | 29,000 km | पेट्रोल | मैन्युअलRs. 6.75 लाख₹ 15,118/माहMax Motors Yozna Vihar, New Delhi
8.42024 मारुति सुजुकी ग्रैंड विटाराAlpha | 32,437 km | हाइब्रिड | मैन्युअलRs. 13.5 लाख₹ 30,235/माहMax Motors Yozna Vihar, New Delhi
8.82024 महिंद्रा थारLX RWD 4 Seater Hard Top | 15,465 km | पेट्रोल | आटोमेटिकRs. 13.9 लाखMax Motors Yozna Vihar, New Delhi
8.82024 टोयोटा अर्बन क्रूजर टैसरG 1.0 | 23,740 km | पेट्रोल | आटोमेटिकRs. 10.5 लाखMax Motors Yozna Vihar, New Delhi
8.52023 मारुति सुजुकी अर्टिगाVXI (O) | 23,294 km | पेट्रोल+सीनजी | मैन्युअलRs. 9.75 लाख₹ 21,837/माहMax Motors Yozna Vihar, New Delhi
7.92016 मारुति सुजुकी अल्टो 800LXI | 67,123 km | पेट्रोल | मैन्युअलRs. 2.15 लाख₹ 4,815/माहMax Motors Yozna Vihar, New Delhi
होंडा सीबी शाइन पर अधिक शोध
लोकप्रिय होंडा मॉडल्स
होंडा सीबी यूनिकॉर्न 160एक्स-शोरूम कीमत₹ 1.12 लाख
होंडा एक्टिवा 6जीएक्स-शोरूम कीमत₹ 75,182 - 88,507
होंडा सीबी शाइनएक्स-शोरूम कीमत₹ 79,352 - 83,711
होंडा एसपी 125एक्स-शोरूम कीमत₹ 86,378 - 93,965
होंडा डियोएक्स-शोरूम कीमत₹ 68,846 - 79,723
होंडा एक्टिवा 125 FIएक्स-शोरूम कीमत₹ 89,152 - 92,796
होंडा लीवोएक्स-शोरूम कीमत₹ 77,242 - 79,809
होंडा हॉर्नेट 2.0एक्स-शोरूम कीमत₹ 1.46 लाख
होंडा गोल्ड विंगएक्स-शोरूम कीमत₹ 42.82 लाख
होंडा सीबी 350 आरएसएक्स-शोरूम कीमत₹ 1.97 - 2 लाख
होंडा हाइनेस सीबी350एक्स-शोरूम कीमत₹ 1.92 - 1.99 लाख
होंडा सीबीआर 650आरएक्स-शोरूम कीमत₹ 11.16 लाख
होंडा सीबी 650आरएक्स-शोरूम कीमत₹ 10.3 लाख
होंडा एनएक्स200एक्स-शोरूम कीमत₹ 1.56 लाख
होंडा XL750 ट्रांसलपएक्स-शोरूम कीमत₹ 11.81 लाख
होंडा एक्स-एडीवी 750एक्स-शोरूम कीमत₹ 12.79 लाख
होंडा यूनिकॉर्नएक्स-शोरूम कीमत₹ 1.1 लाख
होंडा एसपी 160एक्स-शोरूम कीमत₹ 1.14 - 1.19 लाख
होंडा एक्टिवा ईएक्स-शोरूम कीमत₹ 1.17 - 1.52 लाख
होंडा शाइन 100 डीएक्सएक्स-शोरूम कीमत₹ 73,359
होंडा शाइन 100एक्स-शोरूम कीमत₹ 64,004
होंडा रेबल 500एक्स-शोरूम कीमत₹ 5.49 लाख
होंडा क्यूसी1एक्स-शोरूम कीमत₹ 81,020
होंडा एनएक्स500एक्स-शोरूम कीमत₹ 6.33 लाख
होंडा सीबी300एफ फ्लेक्स ईंधनएक्स-शोरूम कीमत₹ 1.55 लाख
होंडा सीबी 125 हॉर्नेटएक्स-शोरूम कीमत₹ 1.04 लाख
होंडा डियो 125एक्स-शोरूम कीमत₹ 85,433 - 90,383
होंडा सीबी1000 हॉर्नेट एसपीएक्स-शोरूम कीमत₹ 13.94 लाख
होंडा सीबी750 हॉर्नेटएक्स-शोरूम कीमत₹ 9.22 लाख
होंडा सीबी350एक्स-शोरूम कीमत₹ 1.97 - 2 लाख
अपकमिंग कार्स
किया सेल्टोसएक्सपेक्टेड प्राइस₹ 12 - 21 लाखएक्सपेक्टेड लॉन्चजन॰ 2, 2026
महिंद्रा एक्सयूवी 7XOएक्सपेक्टेड प्राइस₹ 14 - 25 लाखएक्सपेक्टेड लॉन्चजन॰ 5, 2026
निसान ग्रेवाइटएक्सपेक्टेड प्राइस₹ 5.5 - 9 लाखएक्सपेक्टेड लॉन्चजन॰ 12, 2026
मारुति सुजुकी ई-विटाराएक्सपेक्टेड प्राइस₹ 20 - 25 लाखएक्सपेक्टेड लॉन्चजन॰ 13, 2026
फॉक्सवैगन तेराएक्सपेक्टेड प्राइस₹ 25 - 40 लाखएक्सपेक्टेड लॉन्चजन॰ 15, 2026
एमजी महामहिमएक्सपेक्टेड प्राइस₹ 38 - 43 लाखएक्सपेक्टेड लॉन्चजन॰ 15, 2026
फॉक्सवैगन टेरॉनएक्सपेक्टेड प्राइस₹ 20 - 25 लाखएक्सपेक्टेड लॉन्चजन॰ 23, 2026
रेनो डस्टरएक्सपेक्टेड प्राइस₹ 12 - 15 लाखएक्सपेक्टेड लॉन्चजन॰ 26, 2026
बीयेडी एटो 2 ईवीएक्सपेक्टेड प्राइस₹ 40 - 45 लाखएक्सपेक्टेड लॉन्चजन॰ 27, 2026
मारुति सुजुकी वैगन आर इलेक्ट्रिकएक्सपेक्टेड प्राइस₹ 8.5 - 10 लाखएक्सपेक्टेड लॉन्चजन॰ 27, 2026
अपकमिंग बाइक्स
बीएमडब्ल्यू F 450 GSएक्सपेक्टेड प्राइस₹ 4.1 - 4.4 लाखएक्सपेक्टेड लॉन्चदिस॰ 31, 2025
यामाहा एनएमएक्स 155एक्सपेक्टेड प्राइस₹ 1.6 - 1.7 लाखएक्सपेक्टेड लॉन्चदिस॰ 31, 2025
ज़ीनो Emara ADVएक्सपेक्टेड प्राइस₹ 1.1 - 1.2 लाखएक्सपेक्टेड लॉन्चजन॰ 30, 2026
ट्रायंफ Tracker 400एक्सपेक्टेड प्राइस₹ 2.1 - 2.35 लाखएक्सपेक्टेड लॉन्चजन॰ 31, 2026
यामाहा YZF MT-07एक्सपेक्टेड प्राइस₹ 8.5 - 10 लाखएक्सपेक्टेड लॉन्चजन॰ 31, 2026
होंडा एक्टिवा 7जीएक्सपेक्टेड प्राइस₹ 80,000 - 95,000 एक्सपेक्टेड लॉन्चफ़र॰ 10, 2026
हीरो करिज्मा XMR 250एक्सपेक्टेड प्राइस₹ 2 - 2.2 लाखएक्सपेक्टेड लॉन्चफ़र॰ 28, 2026
सुज़ुकी Hayabusa 2026एक्सपेक्टेड प्राइस₹ 18 - 20 लाखएक्सपेक्टेड लॉन्चफ़र॰ 28, 2026
यामाहा YZF R9एक्सपेक्टेड प्राइस₹ 12.2 - 13.5 लाखएक्सपेक्टेड लॉन्चमार्च 15, 2026
हीरो Xpulse 421एक्सपेक्टेड प्राइस₹ 2.9 - 4 लाखएक्सपेक्टेड लॉन्चमार्च 21, 2026
और ज्यादा खोजें
लेटेस्ट News
रिलेटेड आर्टिकल्स

























